
地 址:上海市金山区兴塔工业区
咨询电话:021-57362601
图文传真:021-33250343
电子邮箱:hanyuev@126.com
网 址:http://www.maiby.cn
比例式减压阀作为一种新产品应用在高层建筑生活给水及消防给水系统中,简化了系统设计,少占楼房建筑面积,节省能源,降低成本,提高了经济效益。但在安装比例式减压阀时需注意以下六大事项:
1、在减压阀安装之前,应对所有管道进行严格冲洗和清洗,以防杂物对减压阀造成损坏。
2、按阀体外所示箭头方向安装。选择减压阀的位置时,应留有足够的空间位置,以便维修管理。暗装于管道井或天栅内的减压阀,应在其相应的位置开检修门或检修口。
3、在减压阀前应安装过滤器,以延长减压阀无故障运行时间和使用寿命。通过Y型过滤器仅能用于水流自上而下或水平管段上,而不能用在水流自下而上的管段上(如自动喷水压灭系统在报警阀前设置比例式减压阀),这时须用N型过滤器。
比例式碱压阀既可垂直安装,也可水平安装。垂直安装时,呼吸孔为水平方向,不会堵塞;水平安装时,呼吸孔应朝下安装,因呼吸孔一旦朝上安装,易被堵塞,影响减压阀正常工作。
4、比例式减压阀阀前、阀后都应安装阀门,以便于维修和拆卸减压阀。
5、比例式减压阀阀前、阀后应安装压力表。有利于现场调试和监测减压阀的减压效果。
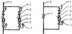
6、为了保证系统长期安全可靠运行,减压阀宜采用成组并联安装。如图1中a图所示,一组减压阀工作,一组备用。如工作中的减压阀出现了故障,备用的一组减压阀立即工作,但若减压阀前后压力较小、供水安全度要求较低时(能瞬时停水的),可选用图1中b图。

1、压力表 2、阀门 3、Y型过滤器 4、比例式减压阀 5、立管
图1 比例式减压阀安装示意图
网站首页