
地 址:上海市金山区兴塔工业区
咨询电话:021-57362601
图文传真:021-33250343
电子邮箱:hanyuev@126.com
网 址:http://www.maiby.cn
多功能水力控制阀为一种新型扬水控制阀,可替代目前国内普遍采用的电动阀、水力控制阀和水锤消除器,对泵房的自动化扬水、水泵启动时的设备安全以及防止停泵时产生的水锤噪音起到极为重要的作用。它利用水压变化实现自动控制,具有速闭和缓闭功能,特别适用于自动化供水控制系统,与国外的水力控制阀相比,无需任何电气装置,节能效果显著。
多功能水力控制阀由主阀和外装附件组成,主阀是由阀体、膜片、主阀板、缓闭阀板、阀座、阀杆组件等主要部件组成。多功能水力控制阀的外置附件安装在阀门膜片两侧并与阀门进、出水管相通,在膜片的下腔与阀门进水侧相连接的控制管上装有球阀、过滤器和微型止回阀,在膜片的上腔与阀门出水侧相连接的控制管上设过滤器和球阀。多功能水力控制阀是一种比较新颖的两阶段关闭阀门,可同时替代现行水泵压水管上的电动阀、水力控制阀和水锤消失器,并能自 动实现开泵时的缓开(准软启动)、停泵时的速闭/缓闭,与水泵起停完全联锁,不需要电气控制、动力液压控制以及重锤和蓄能缸等附属装置,完全由水力自动控制,完全可靠?;罕帐奔淇傻?/span>,适用于各种管路系统,也可实现手动紧急关闭,保证关闭可靠。其缺点是只适用软启动水泵机组,及水泵机组运行下工况变化小的系统。

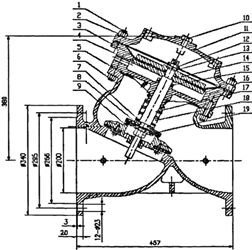
1、螺柱2、螺母3、膜片4、下膜片压垫5、垫片6、阀体7、O型圈8、小阀瓣9、大阀瓣10、螺塞11、阀盖12、圆螺母13、弹簧垫14、上膜片压垫15、O型圈16、膜片座17、阀杆18、弹簧19、六角螺母
图1 多功能水力控制阀结构图
多功能水力控制阀密封性能可靠,采用软硬密封配合,利用硬密封承压力大,软密封密封性能好的优点。长期使用基本无需维护,外控组件的维修可在运行状态下进行,不需停泵停水,过流部件维修可采用抽芯方式,无需拆除阀体,可在不需动管道情况下进行,阀体采用球墨铸铁,运动部件采用小锈钢优质材料,基本无需维护,可终身使用。
网站首页